五菱荣光V官降销量不升反降,消费者为何不买单?
4月23日,踩在北京车展上市前夕,被称为“神车”的五菱终于放下身段,发布了官降政策,对旗下MPV和SUV部分车型都进行降价,就连微客荣光V也降了1000-2000元,看来五菱也期待荣光V能为其拉升销量。然消费者似乎并不买帐,自宣布官降后,五菱荣光V的销量不升反降,怎一个“惨”字了得!


到底是神马原因,让“神车”降价都不奏效呢?
笔者认为这与目前的市场环境、消费者需求的变化、五菱自身的“作死”不无关系。
目前,国内微客市场的竞争也日趋激烈,东风小康、长安等竞争对手纷纷出招,“讨好”消费者,也抢夺了五菱荣光V的份额。除了来自同级竞品的压力,五菱荣光V还受到长安欧诺等商用MPV车型的挤压,竞争力已经岌岌可危。
对于购买这个价格车型的消费者来说,最关心还是性价比,以长安欧诺为对比:五菱荣光V官降仅1000-2000元,最低售价3.78万,比售价仅3.59万起的商用MPV长安欧诺 1.3L幸福型还要高出2000元,且配置还不如欧诺丰富,同时长安欧诺还推出了“0首付0利息0担保”、置换补帖2000元、50元包养399包油等众多促销活动吸引消费者购买,看来五菱荣光V还得拿出点诚意,再降才行。
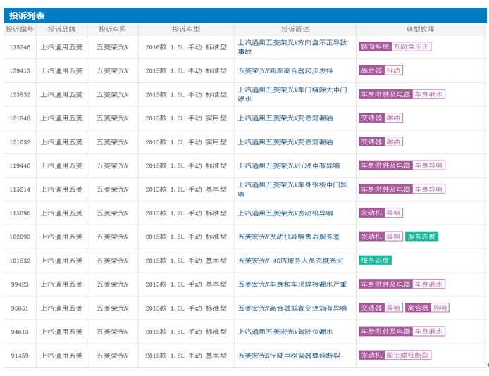
此外,很多车主反映,五菱的产品质量与服务态度都较差。笔者在汽车投诉权威的车质网上看到,五菱产品质量被消费者诟病众多,诉较多的主要为异响、漏油等问题。

相对于质量问题,有相当一部分消费者还因五菱4S店销售人员傲慢、爱理不理的服务态度放弃五菱,转而选择其他竞品。
在消费者为王的当下,五菱如果依然不以消费者为中心,无视消费者的需求,那被消费者“抛弃”也是迟早的事了。
从4月MPV销量排行榜也不难发现,虽然五菱还是占据了前三甲的两个席位,但宏光的销量同比下滑了24%,宝骏730的亚军宝座已被长安欧诺抢夺,且下滑幅度达到了42%这两款同样进行了官降的车型,又是否能够打个翻身仗呢?

标签:
192
什么食物是壮阳的佳品 可以补肾壮阳的食物有哪些 什么食物是壮阳的佳品,可以补肾壮阳的食物有哪些,男人壮阳有哪些注意事项,一些高蛋白食物也有补肾壮阳的作用,如弟蛋、牛...
124
30岁的大龄剩女不能娶(30岁以上剩女慎娶) 01 我当初是图漂亮取了我老婆,现在后悔,以前有人和我说小老婆要找个贤惠的,找小三要找个漂亮的,我想着又漂亮又贤惠,一步到位,...
130
有哪些最安全的长效降压药?请列举五种安全的长效降压药。 最安全的长效降压药包括: 1.钙通道阻滞剂(如氨氯地平); 2.血管紧张素转换酶抑制剂(如卡托普利); 3.血管紧张素受...
88
性生活时为何女方喜欢闭着眼睛? 大家有没有发现这样的情况,在同房的时候, 女人 都 喜欢 闭着眼睛,而男人都 喜欢 睁着眼睛,这是怎么回事呢?一起来看看吧。 有点好奇,为啥...
126
双鱼男理想型的女朋友是哪种(特别是富含艺术气息的) 双鱼男理想型的女朋友是哪种? 本篇我们就来聊聊。 双鱼座男生是十二星座中最具有艺术气质和浪漫情怀的一个,他们渴望在...
69
女生不回微信,是不是暗示放弃了? 女生不回微信 ,是不是暗示放弃了? 现如今,社交媒体成为了人们日常生活中不可或缺的一部分。微信作为中国最流行的通讯应用之一,常常被用...
53
女孩买单是没看上男生吗?女生主动买单代表什么 女孩买单是没看上男生吗?女生主动买单代表什么 1. 买单的含义 在现代社会中,男性通常被认为应该承担起买单的责任。然而,随着...
148
你知道什么是罗马尼亚硬拉吗?4个方面带你认识它 罗马尼亚硬拉的优点就不用再多说了,想拥有强壮的后背绝对与这个动作分不开。然而,问题是它的错误率远比其他动作高得多,人...
122
离婚起诉书范本_离婚起诉书个人信息(离婚起诉书免费模板) 小伙伴们好丫,又见面啦~这里是小七。今天我们来聊一聊 离婚 起诉书 范本_ 离婚 起诉书 个人信息 : 离婚 起诉书 是提出...
164
车厘子上火吗 车厘子吃多了会上火。 车厘子中含有的维生素、微量元素、矿物质等含量都比较高,平时适当食用能够补充身体所需要的营养,但车厘子性质属温,吃多了就会导致上火...
55
嘴唇干裂脱皮的原因(嘴唇经常性干裂和起皮) 在现实生活中,有不少人经常发现自己的嘴唇干裂,而且有起皮的情况出现。如果经常有这种症状发生,就需要高度重视。因为人不会无...
153
职场中,不想被人看不起,有四件事就要少做,很败人缘 在 职场 中,每个人都希望能够得到他人的尊重和认可。然而,有些行为却会让人看不起,甚至会影响自己的职业发展。将为您...
123
月经不调有哪些表现? 经期带来很多的不便,相信女人们都有所了解,特别是月经不调的女性,月经不调不仅给他们的美貌造成影响,还危害了她们的身体,也有很多人不了解月经不调...
199
一个丈夫的出轨背后有哪些原因 今天来聊聊一篇关于一个丈夫的出轨背后有哪些原因的文章,现在就为大家来简单介绍下一个丈夫的出轨背后有哪些原因,希望对各位小伙伴们有所帮助...
123
幺蛾子的来历和传说 幺蛾子的由来 幺蛾子的来历:中国北方大部分地区为农业经济,很多家庭储存粮食及其它有机原料,在天气转暖时总能生出或大或小的蛾子来,不知从哪里来,也...
156
车管所是干嘛的可以考试吗 车管所是干嘛的可以考试吗?考驾照的地方叫车管所。车管所主要负责机动车登记、变更、过户、抵押、注销,申请、续保、核验、受理机动车及驾驶员相关...
53
鸡肉的家常做法简单分享,厨房小白都能做 鸡肉呢,相信大家也经常吃了,因为鸡肉是我们最常吃的肉类之一,鸡肉肉质细嫩,滋味鲜美,并富有营养,有滋补养身的作用。鸡肉的吃法...
105
怎样最容易脱单 男生最容易脱单的工作 随着年龄的增长,难免会考虑成家,但脱单也需要经验和方法。 长期单身的人,怎样才能早点脱单呢? : 一、怎么快速脱单 1.明确自己的目标...
96
老婆和我妈的关系不好,经常吵架,我该怎么办 最近老婆和老妈的关系直线下降,我夹在中间真的不怎么该怎办。各种安慰 各种劝说都不行。 先说说事情的源头吧。 前几天老婆的外婆...
79
老婆出轨用什么方法解决,如何有效解决老婆出轨问题? 夫妻关系中的出轨问题一直是一个敏感而复杂的话题。当老婆出现出轨的情况时,这可能会给夫妻双方带来巨大的伤害和分裂。...